
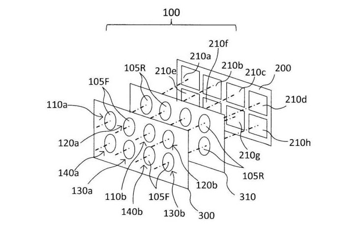
Canon Rumors报道,佳能最近公布了一项多镜头相机系统专利,该系统有点类似于Light L16相机系统,不过佳能是使用不同的焦距和8个摄像头来拍摄照片。另外,佳能的相机传感器大小看上去有点接近1/2.3尺寸,因为图像高度是3.88mm,裁切系数为5.6。我们不知道这是否会成为最终的量产产品,但佳能之前也有在研发相关的系统技术,比如360相机和多镜头系统技术。
日本专利申请号:2018-200484(等效35mm焦距)
5.2mm f/2.88(29mm)7.5mm f/2.88(42mm)10.50mm f/2.88(59mm)15.00mm f/2.88(84mm)4.4mm f/2.88(25mm)8.1mm f/2.88(45mm)

微信扫一扫打赏
支付宝扫一扫打赏