- 2026年03月03日
- 星期二
作者:Flower花仙子 第11页
- 发表文章421篇

奥林巴斯om系列相机 奥林巴斯相机型号大全摄影据外媒爆料,奥林巴斯已注册新款相机,代号为IM016。可以99%肯定,奥林巴斯该款相机应为OM-D E-M5 Ma…

松下s1r使用徕卡镜头体验 松下全画幅微单s1评测摄影近日,在松下一场Lumix S产品体验会上,有用户将徕卡TL系列Summicron-TL 23mm f/2…

佳能镜头600f4最新消息 佳能ef600mmf4 三代测评摄影教程来自CR的最新消息,有消息来源表示,除了新款EF 400mm f/2.8L IS III镜头…

佳能镜头转接尼康机身转接环哪个好? 佳能相机转接尼康镜头效果怎么样摄影德国镜头转接环及脚架制造商Novoflex近日推出了全新的佳能EOS R相机及尼康Z系列相…

手机拍出好照片的 5 大要点是什么 用手机拍好照片七个要点摄影教程手机拍照越来越流行,但想要拍出好照片并不容易。今天小编为您分享 5 个用手机拍出好照片的小技巧…

梦幻般的红外摄影技巧有哪些 红外摄影教程摄影教程摄影是一门光与影的艺术,红外摄影也同样如此,只不过它所使用的光比较特别罢了——是特定波段的红外线。在过滤掉大部分…

3d立体镂空服装拍摄方法 3d镂空拍摄教程摄影教程服饰配件在产品拍摄时经常会用到立体镂空的拍摄方式,这种方式比平铺拍摄能更好的展示产品本身,同时又降低了拍摄成本…

佳能公布六款rf变焦镜头专利是什么 佳能rf内变焦镜头有哪些虽然佳能公开强调要单反无反两手抓,但从种种迹象可以看出佳能已经将大部分的研发经历转移到了无反系统上。…

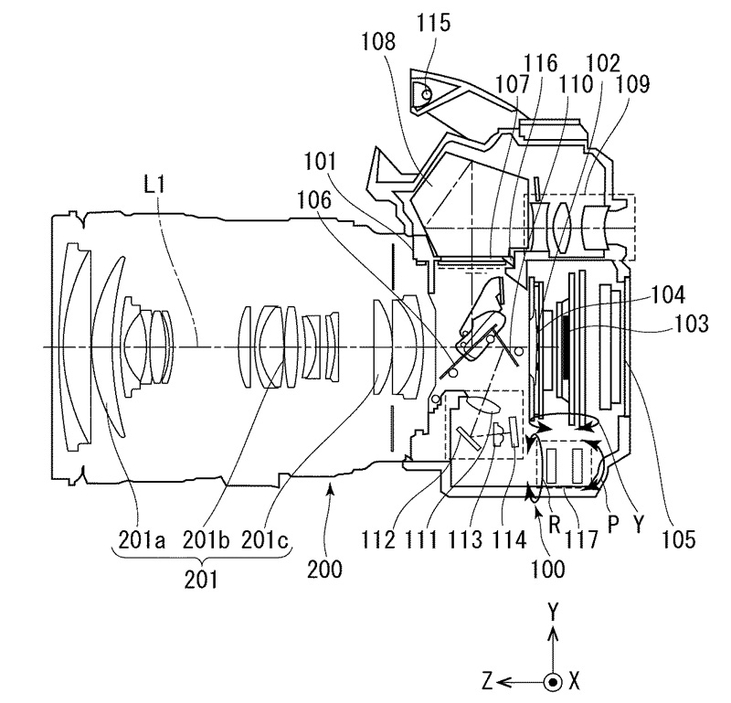
佳能公布机身防抖专利了吗 佳能防抖吗摄影佳能昨日在日本公布了一项编号为2018-165756的机身防抖专利技术,该项专利于2017年3月28日注册,2018年1…

佳能xf705摄像机价格 佳能最新专业便携相机摄影教程如早前传闻所示,佳能今天正式发布了其新款旗舰级专业便携式摄像机XF705。新款摄像机具备了强大的录制功能,…

佳能850d发布价格 佳能单反850d上市时间摄影据外媒爆料,佳能将于8月份发布EOS 850D单反相机。而作为前代产品,佳能EOS 800D于2017年2月份…

徕卡xtyp113样片 徕卡xutyp113评测摄影教程徕卡X-U (Typ 113) 相机发布于2016年1月,该机采用1600万像素APS-C画幅传感器,搭…

图丽opera16-28 2.8评测 图丽镜头大全及最新报价摄影腾龙今天发布了新款镜头,而另一家第三方镜头厂商也将于22日发力。来自PhotoRumor的最新消…

徕卡发布q2相机1.1版本升级固件下载 徕卡发布q2相机3.0版本升级固件摄影8月1日,徕卡发布Q2相机1.1版本升级固件,主要解决Q2相机DNG文件软件解码问…


































